Соединение вида и разреза |
|
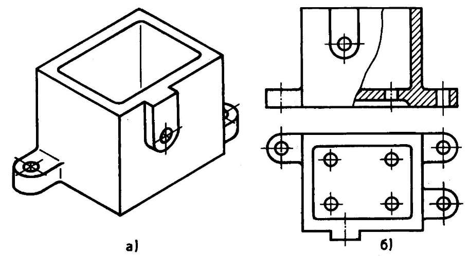
Соединение частей вида и разреза. Форма многих деталей не всегда может быть выявлена построением только видов, фронтального, горизонтального и профильного разрезов (рис. 164, а). Если форму детали отобразить только видами спереди и сверху, то не будет определено внутреннее устройство детали и глубина выемки. Если выполнить фронтальный разрез и вид сверху детали, то невозможно будет уяснить высоту элемента верхней части детали, называемого бобышкой. В этом случае допускается соединять части вида и разреза, границу между которыми проводят сплошной тонкой волнистой линией (рис. 164, б). Бобышка представляет собой выступ на поверхности детали, предназначенный для крепления каких-либо других деталей. Как правило, бобышки имеют цилиндрические резьбовые отверстия или запрессованные резьбовые втулки. Бобышки могут быть прямоугольной или цилиндрической формы. Соединение половин вида и разреза. На чертежах допускается соединять половину вида с половиной разреза в том случае, если оба изображения — симметричные. Изображения половин вида и разреза разделяются штрихпунктирной осевой линией. При соединении половин вида и разреза вид располагают слева или над осевой линией, а разрез — справа или под ней (рис. 165). Есть исключение из рассмотренного правила. Если на чертеже с осью симметрии совпадает изображение ребра, то соединять половину вида с половиной разреза нельзя. В этом случае соединяют часть вида и часть разреза так, чтобы на изображении не исчезла линия контура (рис. 166).
Рис. 164. Соединение частей вида и разреза
Рис. 165. Соединение половин вида и разреза
Рис. 166. Соединение частей вида и разреза |

